IN BRIEF
• TVS Motor Co. of India has launched the production version of its Creon electric concept scooter. The TVS X electric scooter features an air-cooled 3.8 kWh battery, a 7 kW permanent magnet synchronous motor and a top speed of 105 km/h. Phase change material is used to keep the battery from overheating. The zero-emission scooter has a range of 140 km and can be charged to 50 percent in 30 minutes when plugged into a home charger.
• 1414 Degrees of Australia says it has successfully commissioned a demonstration module featuring its molten silicon energy storage technology. The 1 MWh SiBox pilot unit stores intermittent renewable energy to produce clean, high-temperature heat for industrial settings.
• What’s the fastest way to cool down beer cans that have been sitting in the sun? PCM experts know that freezers are not the answer. Physicists David Carroll and Jed Macosko, specialists in thermodynamics, explain the optimal method in terms that Joe Sixpack can understand.
• Kyoto Group AS of Norway has reached a deal to supply a Hungarian food ingredient producer with a 56 MWh molten salt thermal energy storage system. Kyoto’s Heatcube thermal battery will replace the current natural gas supply at a KALL Ingredients Kft plant in central Hungary. In related news, Kyoto has begun operational testing of its 4MW power-to-heat energy storage project in Denmark.
• Thermal energy storage startup Rondo Energy has completed a $60 million fundraising round from investors including Rio Tinto, Microsoft, Aramco and Energy Impact Partners. Rondo makes a refractory brick that can be heated to 1,500°C and retain the heat for later use either in heat form or for conversion back to electricity.
• Wired magazine reports that more and more companies are equipping employees exposed to excessive heat with PCM vests and other cooling garments. „Cooling vests have actually been around for decades,“ the magazine notes, „but in recent years their popularity, and variety, has exploded. Choosing the right one could potentially make the difference between going home after a good day’s work or heading to the ER. Over the past decade, hundreds of workers have died from environmental heat exposure in the US, according to the Bureau of Labor Statistics.“
• CleanTechnica reports that Habilou Ouro-Koura, a graduate student from Rensselaer Polytechnic Institute, has been recognized for his efforts to optimize marine thermal energy as a power source for unmanned underwater vehicles. His paper, “Modeling and Optimization of a PCM-Based Ocean Thermal Energy Harvester for Powering Unmanned Underwater Vehicles,” focuses on tapping the ocean’s thermal energy to power such vehicles. The paper was one of three recognized with an Outstanding Student Paper Award at the American Society of Mechanical Engineers‘ 17th International Conference on Energy Sustainability in Washington, D.C., in July.
• The four projects funded under the Horizon Europe call “Thermal Energy Storage Solutions” have organized a workshop to share lessons learned from each project and collect feedback from experts and researchers. The free workshop will be held Sept. 6 in association with the SUPEHR23 Conference in Savona, Italy.

• Inficold recently installed solar cold storage in an apple orchard in Uttarakhand, India, company founder Nitin Goel reported on LinkedIn this month. „It is a unique solution that stores apples at 1- 2 C temperature,“ he wrote. „It is a small step towards availability of Indian apple during off season. Solar cold storage with thermal energy is typically limited to 4 C. Inficold is able to break this technology barrier and bring cold chain access to far-flung locations. Next in line is solar cold storage for fish (expected to be commercial ready in next 3 months).“
JOBS
• The German Aerospace Center (DLR) is seeking to fill a Ph.D. position at its Institute of Engineering Thermodynamics in Stuttgart. The successful candidate will focus on the modeling and assessment of latent heat thermal energy storage systems.
• The Thermal Energy Storage Research Group at the Oak Ridge National Laboratory in Tennessee has an opening for an R&D associate. Responsibilities include complex research assignments related to phase change material characterization and synthesis; integration of thermal energy storage with HVAC equipment; and heat exchanger design.
• A recruiting firm is seeking candidates for the position of senior thermal storage engineer in Munich, Germany. Responsibilities include the identification of suitable phase change materials or other storage mediums for a variety of thermal energy storage systems, such as solar thermal plants, industrial processes and district heating/cooling.
• The U.S. Energy Department’s National Renewable Energy Laboratory has an opening in Golden, Colorado, for a postdoctoral researcher to help develop energy storage technologies including thermal energy storage and hydrogen technologies integrating with concentrating solar power. Responsibilities include leading research work on modeling, testing, reporting and publications.
PATENTS
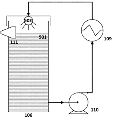
U.S. patent application 20230266079 (applicant Active Energy Systems, Knoxville, Tennessee):
„A heat exchange system including an icephobic heat exchanger (IHEX) tank, a phase change material (PCM) held in the IHEX tank, an immiscible liquid layer held in the IHEX tank, a heat exchanger located within the immiscible liquid layer, and a distributor located above the heat exchanger configured to introduce a plurality of liquid PCM droplets into the immiscible liquid layer. The system further includes a transfer mechanism configured to remove PCM from the IHEX tank, and an external storage tank configured to receive the removed PCM. The immiscible liquid layer has a density lower than a density of both the solid and liquid PCM, and the PCM and the immiscible liquid layer meeting at a PCM-immiscible liquid interface.“
Laundry appliance having a thermal storage mechanism
U.S. patent application 20230265598 (applicant Whirlpool Corp., Benton Harbor, Michigan):
„A laundry appliance includes a blower that directs process air through an airflow path. A rotating drum holds articles to be processed. A heat pump system has a condenser and an evaporator. The evaporator dehumidifies the process air that is delivered from the drum and the condenser heats the process air that is delivered from the evaporator. A phase change material retains heat from the condenser that is directed away from the process air, and the captured heat of the phase change material is utilized during a subsequent laundry cycle.“
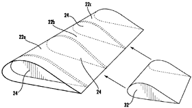
Self pressurizing bladder tooling
U.S. patent application 20230234265 (applicant Sikorsky Aircraft Corp., Seymour, Connecticut):
„A method of fabricating a composite structure includes laying at least one composite ply about a bladder, the bladder comprising a phase change material in a first phase having a first volume, positioning an outer mold about the bladder and the at least one composite ply, and curing the at least one composite ply to form the composite structure. Curing causes the phase change material contained within the bladder to change to a second phase to expand from the first volume to a second volume and apply a pressure to an interior surface of the composite ply and press an outer surface of the composite ply against the outer mold to form an interior cavity. The bladder is not removable from the formed interior cavity.“
More U.S. patent applications:
Compositions comprising phase change materials (Phase Change Solutions, Greensboro, N.C.) | Phase change material (Hubbard Products Ltd., Ipswich, Great Britain) | Passive thermally controlled shipping container (Pelican Biothermal LLC, Plymouth, Minnesota) | Eye goggles (Alan N. Schwartz, Edmonds, Washington) | Latent heat storage material for ultra-cold applications and container for temperature control transport at ultra-cold temperatures (va-Q-tec AG, Würzburg, Germany)
RESEARCH ROUNDUP
From Journal of Energy Storage:
• A review on micro-encapsulated phase change materials (EPCM) used for thermal management and energy storage systems: Fundamentals, materials, synthesis and applications
• Cleaner production of energy and fuels from a renewable energy-based self-sufficient system with energy storage options
• Helmets cooling with phase change materials: A systematic review
• Performance assessment of capric acid-ethyl alcohol/expanded vermiculite phase change material incorporated cement mortar for thermal insulation in buildings
• Experimental analysis of a commercial size bio-based latent thermal energy storage for air conditioning
From Crystals:
From ACS Sustainable Chemistry & Engineering :
From Materials Today: Proceedings:
• Thermal regulation of photovoltaic cells using a phase change material
• Analyzing the thermal, economic, and environmental dynamics of phase change materials used in cold chain applications
• Experimental investigation of longevity and temperature of a lithium-ion battery cell using phase change material based battery thermal management system
From Thermal Science and Engineering Progress:
• Effect of internal channels on energy storage in macro-encapsulated phase change material
From Civil Engineering and Architecture:
From Energy:
From Sustainable Buildings:
From Journal of Food Engineering:
From Thermal Science 2023:
• Indoor temperatures affected by phase-change materials
From Energy Nexus:
From Energy Storage and Saving:
• Phase change material-based rooftop on public transport for thermal management
From Journal of the Institute of Engineers:
From ACS Applied Engineering Materials:
• Printing Composites with Salt Hydrate Phase Change Materials for Thermal Energy Storage
From Journal of Composite & Advanced Materials:
From International Journal of Automotive and Mechanical Engineering:
• A Systematic Review on Bio-Based Phase Change Materials
From Construction and Building Materials :
• Microencapsulated phase change materials for enhanced thermal energy storage performance in construction materials: A critical review
• Specific heat and excess heat capacity of grout with phase change materials using heat conduction microcalorimetry
From Renewable and Sustainable Energy Reviews :
NETWORKING
Connect with PCM experts and industry leaders on LinkedIn
More than 1,800 people have joined a LinkedIn group devoted to the discussion of phase change material and thermal energy storage. You are invited to join the Phase Change Matters group and connect with PCM and TES experts from around the world.
This month we welcome Carolina Villada Vargas, team leader at the German Aerospace Center (DLR), Cologne, Germany; Ong Rui Min, undergraduate in mechanical design and manufacturing engineering at Singapore Institute of Technology, Singapore; and Hasret Akgün, environmental engineer, Eskişehir, Turkey.
NEWS TIPS
Does your company, agency or university have a job opening, new research, new product or other news you’d like to share? I would love to hear from you. Please contact newsletter editor Ben Welter at benedict.welter@gmail.com.
A WORD FROM OUR SPONSOR
This newsletter is made possible through the generous support of the RAL Quality Association PCM and the members listed below. To learn more about the association, including membership benefits, please contact Stefan Thomann, executive director, at pcm@kellencompany.com.
Axiotherm GmbH | Croda International Plc. | ISU Chemical Co. Ltd. | RuhrTech | Microtek Laboratories | PCM Technology | PLUSS Advanced Technologies | PureTemp LLC | Rubitherm Technologies GmbH | Sasol Germany GmbH | S.Lab Asia Inc. | Sunamp Ltd. | va-Q-tec AG
